BÉCSY TAMÁS
A SZEREPLŐK STRUKTURÁLIS
VISZONYA ÉS A KÖZLÉS
Strukturális viszonynak a szereplők
(jelző nélkül említett) viszonyaiból azokat a viszonyokat tekintjük, amelyeket
csak a műből ismerünk, ismerhetünk meg. Jellemezhetjük-e a szereplőket a
tisztán strukturálisan megadott viszonyaik alapján? Véleményünk szerint
teljesen még elvileg sem.
Minden
irodalmi mű a valóság tükrözése. S ha így, akkor struktúráinak sajátságos
viszonya valami olyasmit ad ki, ami túlmutat azon, hogy értelmét önmagában
találja meg. Egy téglalapon lévő pontok mindegyikét el tudjuk látni olyan
ismertetőjegyekkel, amelyek tisztán az adott tárgyterületen belüliek, azaz,
ahogyan Rudolf Carnap mondja:
„Egy meghatározott tárgyterületen belül tisztán strukturálisan megadott viszonyok felhasználásával végrehajtott struktúraleírás alapján lehetséges az egyes tárgyaknak tisztán struktúra-kijelentésekkel történő jellemzése.”1
Ha így meghatározzuk
a tárgyterület pontjainak tisztán strukturális viszonyait, akkor ezek jellemzik
a tárgyterület pontjait. De a tárgyterület pontjainak strukturális viszonyai
önmagukért, illetőleg önmaguk síkján vannak, azaz e viszonyok nincsenek
megterhelve semmi mással. Ha magát a művet tárgyterületnek tekintjük, az itt
helyet foglaló pontok (jelen esetben a szereplők) egyrészt nem statikus pontok,
másrészt a közöttük lévő viszonyok mindig terheltek valamivel, valami olyannal,
ami túlmutat a viszonyok számszerűségén és irányán. Az irodalmi mű, mint
tárgy-terület, pontjainak viszonya mindig kiad valamit. Méghozzá olyat ad ki,
ami voltaképp magát a tárgyterületet nemcsak jellemzi, de ez is hozza létre. Az
irodalmi művet egésszé ugyanis elsősorban – ha nem is teljesen – annak Közlése
szervezi2. Nyilvánvaló, hogy a Közlés szabja meg a tárgyterületet, húzza
meg annak határait, sőt a benne lévő pontokat (szereplőket) is a Közlés helyezi
a tárgyterületbe. Hiszen minden irodalmi mű jelentéssel bíró struktúra, s a
jelentést – ha nem is egészen – de a mű Közlése jelenti.
Egy
irodalmi mű szereplői viszonyának strukturális leírása ezért szükségképpen
érintkezik nem tisztán strukturális leírásokkal is, hiszen végeredményben ezek
a viszonyok mindig szervesen épülnek a Közlésbe, ami teljessé csak más, művön
kívüli ismeretekkel összekapcsolva válhat.
Amikor
sajátságos tárgyterületünket kezdjük vizsgálni, épp ezért először azt kell
megkeresnünk, ami azt alapjaiban egésszé szervezi: a Közlést. Ettől a
pillanattól kezdve azonban ha strukturális módszerrel elemzünk, csak
tárgyterületünkre figyelhetünk. Mivel vizsgálódási szemszögünk nem az íróé, a
kódolóé, hanem az olvasóé, a dekódolóé, a vizsgálódás algoritmusában
eltekinthetünk attól, hogy a mű genezisekor mindent a Közlés hozott létre.
Hiszen ami az író kiindulópontja, az az olvasónak végcél. Az elemzésben
eltekinthetünk tehát attól, hogy a Közlésből induljunk ki. A Közlésből az
olvasó nem kiindul, hanem megérkezik oda. Dolgozatunkban tehát azt kell
megkeresnünk, hogy (1) e tárgyterület pontjai, azaz szereplői, strukturális
viszonyainak feltárása által hogyan jellemezhetjük struktúra-kijelentésekkel
magukat az egyes pontokat (azaz a szereplőket), de mindig azzal az igénnyel,
hogy mindezek hogyan rejtik magukban (más szóval: hogyan szervezik) a Közlést.
A szereplők strukturális viszonyainak a leírása után épp ezért azt nézzük meg,
hogy (2) e viszonyok hogyan adják ki, vagy hogyan nem adják ki a Közlést. Ha az
elemző folyamatba a Közlést is bekapcsoljuk, be kell kapcsolnunk (de kizárólag
csak ebben az összefüggésben) az olvasót is, hiszen a Közlés az olvasónak szól.
A Közlés és az olvasó összekapcsolásakor tehát azt vizsgáljuk: a szereplők
strukturális viszonyaiban az olvasó „elolvashatja-e” a Közlést, vagy elemző
munkával kell felfedeznie.
Közlésnek
ezek után – dolgozatunk sajátságos szempontja miatt – nem azon információk
összességét fogjuk tekinteni, amit a mű közöl, vagy közölhet. Csak azt az alap-Közlést tekintjük annak, ami a mű legfontosabb
Közlése, amiért az író művét lényegében megírta, ami az összes
„rész-információk” gerince, ami a mű mondanivalója. Vitathatatlan, hogy ez a
Közlés több szinten fogalmazható meg, méghozzá az adott olvasó műveltségének,
ízlésének, valóságismeretének stb. mélysége, foka szerint. A Közlés megadható a
mű szövegéhez közelebb álló és általánosabb fogalmazásban egyaránt, sőt
megfogalmazható többféle szinonimában is. De minden bizonnyal találunk egy
többé-kevésbé mindenki számára elfogadható (vagy bizonyítható) objektív
megfogalmazást is.
x
1.1.1.
Móricz: Barbárok című novellájában, ha a szereplőket nem strukturális
viszonyaikban akarjuk jellemezni, négy lényeges szereplő van: Bodri juhász,
Bodri juhász felesége, a veres juhász és a vizsgálóbíró. A mű értelmezhető,
magyarázható, elemezhető csak eme négy szereplő figyelembevételével.
A mű
strukturális viszonyainak a leírásához azonban ők nem elegendők. Szükségünk van
a gyilkosságban részt vevő másik juhászra, Bodri juhász fiára, sőt a rézveretes szíjra és a fiatal pulira is, aki a
gyilkosságot felfedezi3. A teljes struktúraleíráshoz a megemlített szereplők is (a veres
juhász három bojtárja; az idegen juhászok, akiktől az asszony a veres juhász
után érdeklődik, miután meglelte fia és férje holttestét) szükségesek lennének.
A strukturális viszonyok ábráján fel is tüntetjük őket, de róluk külön nem
beszélünk.
Nemcsak a
mű menetében4, de a strukturális viszonyokban is a legfontosabb négy szereplő:
a veres juhász (jele V), Bodri juhász (jele B), Bodri juhász felesége (jele Bf) és a vizsgálóbíró (jele Vb). Őket egy négyzet négy
sarkára írhatjuk fel.
Az olvasó
ugyan B-vel találkozik először, de a kiindulópont mégsem ő, hanem V. így V-t
írtuk a négyzet bal felső sarkába. V tudja miért jött ide, mit akar, míg B ezt nem
tudja. Ezt a tényt ábrázolhatjuk úgy, ha V-t bekarikázzuk, s a karikából
belülről kiindulva húzzuk meg a négyzet bal alsó sarkában álló B-hez vivő
összefüggő vonalat. A vonal végén lévő nyíl azonban be is fut a B körül rajzolt
karikába, ami jelzi azt, hogy V megtudott számára lényeges dolgokat B-től. Ez
pedig az, hogy mikor jön ide az asszony, tehát mennyi idő múlva fedezhetik fel
B eltűnését. V a B-hez fűződő viszonyában gyilkos, a „tömpe orrú, vizslató szemű” juhászhoz (jele Tj)
való viszonyában társ. V a B-hez való viszonyában teljesen aktív, Tj-hez való viszonyában se nem aktív, se nem passzív. B a
V-hez való viszonyában az áldozat. A gyilkos és áldozat viszony kizárja, hogy a
műben a gyilkosság megtörténte előtt lévő eseményeket másként, mint a gyilkosságot
előkészítő eseményeket szemléljük. Tj is gyilkos és
társ egyben. V és Tj viszonya B-hez strukturálisan
teljesen azonos. Ez nem jelenti, hogy ők megkülönböztethetetlenek, hiszen V-t
más viszonyok is jellemeznek. Tj-től épp ezek a más
viszonyok különböztetik meg. Tj erősíti V
strukturális funkcióját, ha ezeket értelmezzük. V-nek ugyanis kisebb esélye
lenne a gyilkosság sikeres végrehajtására, azaz arra, hogy beteljesítse ezt a
strukturális funkcióját, ha egyedül érkezne. Tj-re
nyilván csak eme strukturális funkció erősítésére van szükség: ő a novella
storyjából is, menetéből is teljesen eltűnik.
A V-től
B-ig húzódó nyíl közepébe beírtuk a rézveretes szíj jelét (Rsz).
A Rsz attól függően, hogy milyen viszonyba kerül,
megváltozik. A Rsz egyfelől V-hez, másfelől B-hez
való viszonyában a gyilkosságot előkészítő, bevezető ürügy. Az Rsz e viszony által lesz az, ami (ürügy), s emelkedik ki a
megemlített többi tárgy közül; pl. B botja, vagy fiának kalapja.
A négyzet jobb alsó sarkába írhatjuk Bf-et. A B és Bf közötti viszonyt pontokból álló vonallal jelöltük, hiszen konkréten nem találkoznak. A Bf köré rajzolt körnek a bensejéből indul a pontokból álló vonal, s B karikájának széléig ér; jelezvén, hogy a műben lévő strukturális viszony Bf-től indul ki, hiszen ő keresi férjét. Ezek után B viszonyai leírhatók: V-hez és Tj-hez fűződő, már említett viszonyain kívül neki senkihez nincsen viszonya; a műben fiához való viszonya sem ábrázolt, s Bf-hez is csak attól feléje húzódó kapcsolata van.
A következő viszony átlósan jelzett: Bf és V között, ami kölcsönös viszony. Hiszen Bf akar valamit V-től (B nem akart semmit V-től!). Bf nem lát bele V bensejébe, V viszont belelát Bf bensejébe; a nyilak és karikák viszonya jelzi ezt is. A Bf és V között húzódó két nyíl egyikébe, abba amelyik V-től húzódik Bf felé, beiktattuk ismét az Rsz-t. Ebben a viszonyban a szíj ismét más funkciót kap: mintegy bizonyítékként emlegeti V. Azt akarja bizonyítani az Rsz-el, hogy csak látta itt a Dunántúlra igyekvő B-t, akin ez a szíj volt. Bf-nek fiához ugyanolyan viszonya van, mint B-hez, jelölése ezért éppen olyan.
Bf-től a négyzet jobb felső sarkában helyet foglaló vizsgálóbíróhoz (Vb) vezető nyíl azért áll pontokból és vonalakból, mert ez a viszony a miiben nem megjelenített, csak elbeszélt. A másik bensejébe ezért itt egyik sem láthat be. De ekkor keiül kapcsolatba az „idegen juhászokkal” (Ij) is. Bf-nek aktív viszonya van V-hez, s ezzel egyrészt bővül V viszonyainak száma, másrészt V struktúrális funkciójának egyik jellegzetessége itt meg is változik. Az aktívból (B megölése) passzív lesz, ettől kezdve csak védekező. Bf és V között, mint lényeges strukturális elem ott a puli fiának a jele (Pf). A Pf nem B és Bf között van, noha alakilag B és Bf „találkozását” hozza létre. A Pf csak a Bf és Vb viszonyában tölt be struktúrális funkciót, s épp e viszony által (egyfelől Bf-hez, másfelől Vb-hez) lesz az, ami: V bűnhődésének közvetett oka; valamint Bf és Vb viszonyának megteremtője. Nélküle Bf-nek nem lehetne viszonya Vb-hez.
A Vb és V közötti vonal végén lévő nyíl belefut a V körüli karikába, hiszen Vb belelát V-be. Kettejük viszonyának lényegében csak egy irányulása van: Vb-tői V-ig húzódó, hiszen V ebben a viszonyban ugyancsak passzív és védekező. De ő nem is lát bele Vb-be, nem tudja pl., hogy Vb már tudja B megölésének tényét.
A Vb és V viszonyát jelző vonalba ismét beiktattuk az Rsz-t, jelezvén, hogy itt Rsz, ebben a struktúrális pozícióban és viszonyban ismét más. Az Rsz a bizonyíték, ami vallomásra kényszeríti V-t. Ha értelmezzük az Rsz két bizonyítékfunkcióját, azt mondhatjuk: az első álbizonyíték és V mellett áll (V részéről a Bf viszonyban), a második valódi bizonyíték és ellene irányul. Az ábra tehát a következő:

1.1.2. Az ábráról először leolvashatjuk a story irányvonalát, amelyik V-től V-ig tart. Láthatjuk, hogy a novella menetének közvetlen szukcesszivitása B és Bf között megszakad, azaz a story szukcesszivitását az író egy ponton máshonnan folytatja (nem Bf-től B felé, hanem fordítva). De láthatjuk azt is, hogy az író a novella menetét egy másik lényeges ponton is csak elbeszéli (nem megjeleníti): Bf és Vb között. Kiderül, hogy B és Bf nemcsak a gyilkosság miatt áldozatok, de amiatt is, hogy ők „tudatlanok”, azaz egyik sem lát bele egyetlen másik strukturális pont bensejébe. Más rétegben, a mű értelmezésében ez úgy jelentkezik, hogy ők nem látják semminek az okát; az, ami éri őket, sorscsapásnak, ismeretlen okból eredőnek látszik; ők csak ártatlan és tudatlan elszenvedői mindennek. De kiderül az is, hogy Bf látszólagos passzivitása ellenére mennyire aktív: minden más szereplőtől akar valamit. (Kivétel Tj, akivel nincs kapcsolata.)
V-t tehát leírhatjuk, mint a legtöbb viszonnyal rendelkező szereplőt. A mű egyetlen szereplőjéhez az „idegen juhászok”-hoz (Ij) nincs viszonya, minden máshoz van. Két szereplőhöz, Bf-hez és L-hez (a „legények”, az ő három bojtárja) csak tőle kiinduló; Vb-hez csak hozzá futó. Ezen kívül két „melléje rendelt” pontja is van: Tj és L. Tehát hat ponthoz hét viszonya van. De három viszonyában lényeges funkciót játszik az Rsz is, mind a három alkalommal más funkcióval. Vitathatatlanul ő a mű főszereplője. Hasonló módon lehetne az összes többi szereplő strukturális viszonyait leírni, s e viszonyokkal (számszerűségeikkel, irányulásaikkal és a melléjük rendelhető pontokkal) jellemezni őket. De úgy véljük, erre nincsen szükség.
1.2.1. Hogyan foglaltatik a Közlés (továbbiakban K) a szereplők strukturális viszonyaiban? Az első viszony V és B között van. Ebből megtudjuk: V ravasz, hiszen kifaggatja B-t, mikorra várható a felesége, azaz mikor derülhet ki leghamarabb a gyilkosság. Azonkívül tudja: meg kell várnia az estét, míg a gyilkosságot elkövetheti. Ha a novella egészét ismerjük, tudjuk: egy „sereg lopás és gyilkosság” elkövetője. Az éjszaka megvárása tehát nem „ösztönös szakmai tudás”, hanem tudatos. Megtudjuk: szüksége van a gyilkosság végrehajtásához bevezető ürügyre; a Rsz megvásárlásának látszólagos szándéka ez.
V és Bf viszonyából V ravasz hazudozó volta és hidegvérű vakmerősége ismét kiderül. (Abból, ahogyan a Rsz-t emlegetni kezdi, ahogyan az asszonyt a Dunántúlra küldi.) De ez a viszony hordozza szemtelen vakmerőségét is, hiszen az asszonynak mondja: „Egyék csak, mintha magáét enne. Nem szánom énkendtül.” Amivel kínálja ugyanis az asszony férjétől gyilkosság révén eltulajdonított birkából készült étel. Az asszony, ha enne, valóban a magáét enné. V, mikor az asszony meglátogatja, már reggel, tehát nem a főétkezéskor, kásás húst eszik. A gyilkosságnak tehát valamilyen eredménye már van V számára: jól él annak következtében.
Az eddig említett viszonyokból a K számára az derül ki: milyen az a nyájajuhász, V, aki képes agyonütni társát és annak fiát is. Másképpen úgy is fogalmazhatunk, hogy az eddig említett strukturális viszonyok ebben a nagyobb egységben rendeződnek el.
V és Vb viszonyában V írói, azaz erkölcsi megítélése realizálódik. Vb a vallató, aki a tényt, ami iránt érdeklődik, biztosan tudja, s épp azt akarja: V vallja be ezt a gyilkosságot is. V egyetlen pozitívuma itt derül ki, e viszony által. Feltehetően épp azért nem akarja épp csak ezt a gyilkosságot bevallani, mert épp ezt szégyenli; talán azért, mert gyereket is ölt, talán azért, mert épp társát ölte meg. Vb azonban mindenáron vallomásra akarja kényszeríteni. A vallomásra nem a jogi igazságszolgáltatás miatt van szükség. Az író ezt határozottan közli is az olvasóval. A gyilkosság bevallására azért van szükség, mert a bűn bevallva még súlyosabb, mint bevallatlanul. A vallomás, a „gyónás” erkölcsi erejű, erkölcsi jellegű, s nem jogi. A bűn bevallva, egy másik ember előtt, de a bűnös előtt is, másképpen, súlyosabban jelenik meg, mint bevallatlanul, s ettől kezdve semmi lehetőség a mentségre, magyarázkodásra nincs. Hogy ez mennyire így van, bizonyítja: V nemcsak a gyilkosságot, a tényt vallja be. De a bevallás erkölcsi súlya, kényszere miatt azonnal, kérdés nélkül közli okát is: a háromszáz birkáért és a két szamárért5. A társát agyonütni képes nyájajuhász vagyonéhsége itt realizálódik a K számára. A K tehát itt lesz teljessé: a nyájajuhászok némelyike vagyonéhsége következtében még társát is képes agyonütni.
Ezután hangzik el, a novella legvégén Vb ítélete: Barbárok. Erről a szóról többen azt állítják: a vizsgálóbírót is megítéli, aki nem tudja felismerni, hogy a nyájajuhászokat az adott társadalom teszi vagyontalanná, s készteti így gyilkosságra.
E szemlélet megfeledkezik azonban arról, hogy a megölt Bodri is nyájajuhász volt, volt háromszáz birkája, s arról is – épp e tényhez való viszonyában hogy a veres juhászra „sereg lopás, gyilkosság igazolódott”.
Mindegy, akárhogyan is értelmezzük ezt az utolsó szót, itt a novella végén találunk egy igen fontos és sok információt tartalmazó közlésegységet.
1.2.2. A Vb attól kezdve, hogy megjelenik a műben, voltaképp az olvasó számára jelenik meg. Pontosabban az olvasónak szóló Közlés számára. Vb alakján keresztül realizálódik a K számára az írói és erkölcsi igazságszolgáltatás. Noha a Vb a szereplők struktúrájába is szervesen belekapcsolt, mégis: általa, azaz a novella végén bekapcsolt szereplő által jelenik meg az erkölcsi tanulság, a mondanivaló, természetesen nem okvetlenül csak az utolsó szóban. A szereplők strukturális viszonyai tehát kiadják a K-t. így azt mondhatjuk, hogy a K ebből a szempontból benne van a műben: az olvasó a strukturális viszonyokból elolvashatja. A műben tehát ez a K: a nyájajuhászok némelyike vagyonéhségből még társát is képes agyonütni, szervezi a mű struktúráit szerves egésszé. Az olvasónak a K-ról nem kell gondolkodnia, az nemcsak elemzés révén derülhet ki előtte. A szereplők struktúrája, a K és az O (olvasó) viszonya így foglalható ábrába:

1.2.3. Az ábra azt jelenti, hogy a szereplők struktúrális viszonyai azonnal kiadják a K-t; az olvasó a mű elolvastával közvetlenül is megismerheti a K-t.
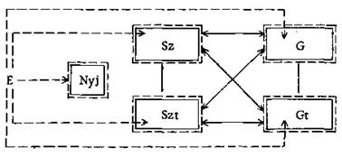
2.1.1. Nagy Lajos: Január című novellájában nincsenek szereplők. Több embernek is megtudjuk a nevét, sőt pl. a tekintetes asszony, Buxbaum és Buxbaumné, egy legényke stb. meg is szólal. Ők mégsem önálló jellemek, nem önállóan cselekvő személyek, hanem csak megelevenedett, „quasi-személlyé” vált alakjai az író által elmondott parabolának. Éppen ezért, ha a struktúrális viszonyokat vizsgáljuk, nem találunk más különbséget a név vagy foglalkozás szerint említett szereplők között, mint azt, hogy más csoportba tartoznak. E két csoport a szegények és gazdagok csoportja. Minden név vagy foglalkozás szerint említett két ember két viszonyban kap értelmet, azaz válik azzá, ami: valamely csoport tagjává, s így – más szinten – a parabola tanításának hordozójává. E két viszony az azonosság a vele egy csoportban lévőkhöz, és határozott oppozíció, illetőleg elhatároltság, távolság a másik csoporthoz, a másik csoporttól. így pl. a gazdag Buxbaumné nem érti a szegény Kis Keczege Pált. De Kis Keczege Pál alakján keresztül (mivel minden gazdag ilyen viszonyban van minden szegénnyel) nem érti a teljes első csoportot. Néha ez az oppozíció azáltal, hogy pl. az egyik gazdag egy másik, de vele azonos csoportba tartozó személyt is bekapcsol az egyik szegényhez való viszonyába, módosul. Az „asszonyság”-nak, mint struktúrális pontnak a viszonya ama szegény emberhez, aki a verebek elől eleszi a nagyobb morzsadarabokat, módosul Buxbaumné és Kis Keczege Pál viszonyához mérve. Az asszonyság a „morzsaevő” szegényhez való viszonyába ugyanis bekapcsolja a rendőrt. (Csak az író által elbeszélten.) Buxbaumné még nem fordult rendőrhöz („Hogy miért is engedi az ilyesmit a rendőrség” – mondja), Buxbaumné, mint struktúrális pont e viszonyban csak naiv és buta. Az asszonyság a rendőr bekapcsolása miatt nemcsak naiv és buta, de gonosz is. Hogy a struktúrális viszony menynyire meghatározó, arra épp ebben a jelenetben találunk egy példát. Amikor a rendőr megérkezik „valaki megjegyezte: – Biztosan a butikba viszi, s pálinkát vesz rajta!” (ti. a szegény a verebek elől elszedett morzsát). A „valaki”-ről semmit sem tudunk, csak annyit, hogy ott van a jelenetnél, s a fenti mondatot mondja a rendőr jelenlétében. A mondat a szegény „morzsaevő” ellen irányul, s ez az oppozicionális viszony sorolja be a „valakit” a gazdagok csoportjába.
Struktúrális viszonyaikat tekintve semmi különbséget nem találunk az azonos csoportba tartozó név vagy foglalkozás szerint említett személyek és a hozzájuk tartozó tárgyi stb. jelenségek között. A szegényekhez tartozó tárgyi stb. jelenségek éppúgy oppozícióban vannak a név szerint említett gazdag személyekkel, mint a gazdagokhoz tartozó tárgyi stb. jelenségekkel. Pl. a kajászószenteuláliai favágó és a hozzá tartozó fagyos erdő egyaránt oppozícióban van a kajászószenteuláliai gazdagokkal is, mint azok kemencéjével; illetőleg a kajászószenteuláliai tekintetes úrék és izzó vaskályhájuk a szegény favágóval és a hozzá tartozó fagyos erdővel. Sőt: találunk olyan szövegrészeket, amelyek éppúgy oppozícióban vannak az előbbiekkel és egymással, mint az előbbiek. Így pl. az értékpapír forgalmiadó befizetésének dátuma és az írónak a szegények nevében elmondott felkiáltása:
„Jaj nehogy elfelejtsük!” Vagy a mű végén a gazdanaptár tanácsai és az író által megadott időjóslat. De ugyanígy, strukturális viszonyát és funkcióját tekintve oppozícióba került a belvárosban lévő -23 fok a külvárosban lévő -30 fokkal (1929. február 11-én), a belvárosban lévő -8 fok a külvárosban lévő -11 fokkal (1930. január 10-én). Akármilyen szukcesszív egységekre bontjuk a novellát, pl. dátumok szerint, mindig minden egységben megtaláljuk az oppozícióban lévő embere -két és (vagy) dolgokat. Pl. a „morzsaevő” szegénnyel szemben nemcsak az asszonyságot, de az autóban ülő nagyságos urat is (aki a Petőfi-versre való nyílt utalás miatt a betyár!); vagy a „fejünkön és mellünkön” ülő légoszlopon lévő kenyér árával, házbérrel és a holnap kilátástalanságával szemben az íróra kirótt légoszlopon szivarozó Schwartz urat és Bunkófejeő urat. Így megállapítható, hogy strukturális viszonyát és strukturális funkcióját tekintve minden teljesen azonos, függetlenül attól, hogy személyről, tárgyról, fokszámról vagy szövegrészről van-e szó.
E novellának nincsen a szó szoros értelmében storyja. Menete természetesen van. Az író ebben a műben benne lévő szereplő. Az író (az elbeszélő E) akkor lesz a mi szemszögünkből szereplő, ha az ő függő beszédéből olyat tudunk meg egy x szereplőről, ami x szereplőről senki máshoz való strukturális viszonyából nem derülhetne ki. Ha az elbeszélő csak olyat mond el szereplőiről, amit egy objektív megfigyelő is észrevehet, nem tekintjük külön szereplőnek, strukturális pontnak. (Pl. a Barbárokban.) Mivel itt nincs story, az író nem állhat még látszólag sem kívül a történeten, mint a személyeket, azok cselekvését és beszédét, vagy reagálásaikból (stb.-ből) kikövetkeztethető benső állapotaikat is regisztráló, azt elmondó elbeszélő. Itt az író nem is bontja magát ketté, egy a művet elbeszélő és egy a miiben benne lévő íróra. Az első elbeszélőnek ui. nem lenne mit megfigyelnie és elbeszélnie. A megszólaló szereplők nem a valóságnak megfelelő „mezőben” mozognak és beszélnek, hanem az írói parabola „mezejében”, s ott ők allegorikus alakokká válnak. Láttuk, strukturális viszonyaik és funkcióik azonosak a tárgyakéval stb. E viszony és funkció attól függ, melyik csoportba tartoznak. S mindezt, az egész tárgyterületet és a rajta lévő pontokat is az író, a műben benne lévő író hozza létre. Az ábra így adható meg:

ahol az Sz a szegényeket, az Szt a szegényekhez tartozó tárgyakat stb.-t, a G a gazdagokat, a Gt a gazdagokhoz tartozó tárgyakat stb.-t jelenti, az E az elbeszélőt, a Nyj pedig a mű végén található „nyitás a jövőbe” elemet, amelyről majd a 3.2.2. pontban szólunk.
2.1.2. Az
ábráról leolvasható, hogy Sz és G, valamint Szt és Gt állandóan oppozícióban
jelennek meg; valamint, hogy azonos strukturális viszonyuk és funkciójuk van.
Az E-től futó szaggatott nyíl, s hogy a pontok körüli téglalapok szaggatott
vonallal is keretezve vannak, ebben az esetben azt jelzik, hogy az E a művön
belül, csak a művön belüli világban hozza létre őket úgy, ahogyan megjelennek.
Az E nemcsak beléjük lát, de E nélkül ők egyáltalán, még egy „mintha” életet
sem élnének. Az Sz – Szt és
a G – Gt pontok strukturális viszonyát tehát az
jellemzi, hogy (1)
az E helyezi a tárgyterületre; (2) állandóan összekapcsolt a saját csoportján
belül megjelenő személyekkel és (3) tárgyakkal stb.-vel;
(4) állandóan oppozícióban van a másik csoport személyeivel és (5) tárgyi stb.
jelenségeivel. Minden pontot az Nyj kivételével ez az
öt adat jellemez. Az E strukturális viszonya: tőle van csak viszony-irányulás,
hozzá nincs; minden ponttal ilyen módon összekötött.
2.2.1. E műnek,
ahogyan említettük, nincsen storyja, s a mű parabola. A novella név vagy
foglalkozás szerint említett emberi alakjainak, s a hozzájuk tartozó tárgyaknak
– dolgoknak strukturális oppozíciója lényegében csak a K egy részét hordozza
magában. Ha a szöveg szintjére koncentrálunk, akkor ezt a K-t kapjuk: a
gazdagok nem értik, hogy a hideg sújtja, sújthatja a szegényeket.
2.2.2.
Azonban ennek a miinek a végén is találunk egy új és lényeges elemet, olyat,
mint a vizsgálóbíró és az Egy Katona. Ez ebben a műben azonban nem új szereplő,
hanem a műben teljesen benne lévő írónak a mű végén elmondott szavai, amelyet „nyitás
a jövőbe” meghatározással jelölhetünk. Ez a rész már nem tartozik az
oppozícióban lévő párok struktúrájába, s kizárólag az olvasónak szól.
Ezért az a
K, hogy a gazdagok nem értik: a hideg sújtja a szegényeket, csak a novella első
szintű K-ja, s jobbára az „érzelmi
K-t” hordozza. A strukturális viszonyok oppozíciója
azonban magában rejti a K egy olyan szintjét is, ami erősen számításba veszi az
olvasót, méghozzá az olvasónak marxista műveltségét és társadalmi
tapasztalatát. Annak az olvasónak, aki ezzel nem rendelkezik, a K megmarad az
előbbi szinten. Akinek viszont van marxista műveltsége, az a novella első
szintű K-ján gondolkodva észreveheti, hogy a szegények és gazdagok ellentéte
osztályellentétekre épül, s ennek csak egyik konkrét megnyilvánulása, hogy a
hideg a szegényeket sújtja, s nem a gazdagokat. A mű végén található „nyitás a jövőbe” elem is
ezt a mélyebb K-t rejti, egy még további lehetőséggel: az osztályharccal és
annak egyszer majd vitathatatlanul bekövetkező eredményével. Az ábra így adható
meg:

2.2.3. Az
ábra azt jelenti, hogy az elbeszélő (E) teljesen benne van a műben, mintegy a
műben „beszéli el” a menetet (M) és a strukturális viszonyokat (St).
Az E, az M
és a szereplők strukturális viszonya önmaga szintjén is kiad egy K-t: K1, amit
az olvasó elolvashat a műben. De a mű a K-nak egy mélyebb szintjét is magában
rejti, illetőleg egy mélyebb értelmű K-t is kiad. Ennek megértéséhez az
olvasónak „el kell mozdulnia”, neki kell megkeresnie, s így válhat a K teljessé számára.
A K-t
tehát itt két részre osztottuk. Azt lehetne mondani, hogy a K minden esetben
felbontható K1-re és K2-re, hiszen: minden epikus műnek van storyja, de menete
biztosan, s ezt megismerve az olvasó a K-ból valamit, K1-et, feltétlenül
megismerhet. Először: kétségtelen, hogy minden irodalmi mű K-ja több szinten
megfogalmazható. Ha ez igaz, elvileg minden K-t kettő, sőt három, vagy akár
több részre lehet bontani. De – ahogyan említettük – lehet találni egy többé
vagy kevésbé elfogadható objektív K-t. Másodszor: kétségtelen, minden olyan
epikus mű esetében, amelynek hagyományos értelemben van storyja, minden olvasni
tudó olvasó azt megismeri. Tehát – lehetne mondani – a mű K-jából valamit
megtudhat. Azonban ki állíthatja, hogy a legegyszerűbb irodalmi művek esetében
is a puszta story mindig egyenlő a K valamelyik kis részével? Vannak olyan
művek, amelyeknek csak a storyját felfogva, megértve, semmit nem tudhatunk meg
annak Közléséből. A K tehát nem bontható mindig és szükségszerűen K1-re és
K2-re. Ahol a szereplők strukturális viszonyai, a story és a mű menete nem adja
ki a K-t, a K1 nem lehetne más, mint a strukturális viszonyokat jelző
szimbólum, vagy nem lehetne más, mint a story, vagy a mű menete. Azokban az
esetekben tehát, ahol ezek nem adják ki a K-t, vagy a K-nak csak oly halvány
részét, amelyet nem is tekinthetünk a K részének, a K-t nem érdemes felbontani.
A Január című novellában tehát azért bontottuk fel a K-t, mert a szereplők
strukturális viszonyai hordoznak abból egy lényegesebb szintet (a hideg a
szegényeket sújtja), de mégsem ez a teljes K.
3.1.1.
Krúdy Gyula: Utolsó szivar az Arabs szürkénél című novellájának öt lényeges szereplője,
azaz öt lényeges strukturális pontja van: az Ezredes (Ez); a hírlapíró (H); a
kocsma csaposa, János (J); a novella végén megjelenő hullaszállító-kocsis (Hk); és maga az elbeszélő (E). A többi strukturális pontról
(a hentesné, a kocsmáros, a kocsmárosné, a kocsma
vendégei) nem beszélünk, még az ábrában sem tüntetjük fel őket. Azért nem, mert
a lényeges strukturális pontokat nélkülük is jellemezhetjük, s az ábrákat velük
(a teljesség kedvéért, s nem a lényeg kedvéért) túl bonyolulttá tennénk.
Az öt
szereplő ismét négyszög alakban írható fel, hiszen az E nagyon sokszor
összemosódik az Ez-el.
Az Ez-t
megbízzák H megölésével, s ő ettől kezdve sokat gondol H-ra. Az Ez a négyszög
bal fölső sarkában foglal helyet, míg H a jobb fölső sarkán. Az Ez és a H között
lévő ilyen viszonyt (hogy ti. az Ez sokat gondol H-ra), az Ez karikáján
belülről kiinduló szaggatott vonallal jelöltük. Eme vonal a H körüli karika
széléig ér, hiszen az Ez nem lát bele H bensejébe. Az
Ez csak és épp a H-hoz való viszonyában lesz az, még a story szintjén is, ami:
az Arabs szürkébe betérő és ott épp ezt és ezt a viszonyt kialakító
strukturális pont. Az Ez-t a H-hoz való viszonya jellemzi először és
legfontosabban.
Az Ez
tehát betér a kocsmába, s ettől kezdve állandó viszonyban van J-vel, akit a négyszög bal alsó sarkában helyeztünk
el. Az Ez és J viszonyát az Ez karikájának bensejéből
J karikájának széléig érő vonallal jelöltük. Az Ez ugyan nem lát be közvetlenül
J bensejébe, de mindig akar tőle valamit. Az ábrán
J-től az Ez felé nem fut semmiféle vonal, hiszen bármi, ami Ez és J között
történik, az Ez-ből kiindulva történik, J legfeljebb
a rendeléseket teljesíti és reagál. J ebben a viszonyban teljesen passzív. Az Ez-nek J-hez való viszonyát azonban teljesen és alapvetően
az Ez-nek H-hoz való viszonya határozza meg: ha nem
lenne viszonya H-hoz, J-hez sem lenne. Az Ez-nek
H-hoz fűződő viszonya igen gyakran épp J-hez való viszonyában realizálódik.
Ezért az Ez-ből kiindulva, J-n átmenve, s a H-hoz
érkezve ugyanazt a szaggatott vonalat húztuk meg, mint ami Ez és H között
közvetlenül is fut. A kocsmában megjelenő H-t (akit a négyszög jobb fölső
csúcsára helyeztünk), az eddig említett szereplők közül először az Ez veszi
észre és az ő gondolataiban jelenik meg. Az Ez ezután bele is lát H bensejébe, mikor észreveszi félelmét, s realizálja, hogy ez
ama fiatalember, akit neki le kell lőnie. Ezért ezt a viszályt az Ez karikáján
belülről kiinduló s a H karikájába befutó nyíllal jelöltük. Az E strukturális
viszonyait ezzel jellemezhetjük negyedszer.
Azonban H
is belelát az Ez-be, s ettől rémül meg. Ezt a viszonyt a H-ból kiinduló és az
Ez körül lévő körbe beérő vonallal jelöltük. H ugyanúgy csak az Ez-hez való viszonyában lesz az ami: leendő áldozat (így
képzeljük ui.), mint ahogy az Ez is csak H-hoz való viszonyában lesz az ami:
győztes gavallér (így képzeljük ui.). Valójában is csak egymáshoz való
viszonyukban lesznek azok amik: H győztes, az Ez az áldozat. H még J-vel is
kapcsolatba kerül. Viszályukat a H karikáján belülről kiinduló vonallal jelöltük,
hiszen H úgy néz J-re, „mintha élete nagy bajában attól kérne kegyelmet”.
Viszonyuk egyébként technikai jellegű: a kiszolgálásra és a „Hát a fizetéssel
mi lesz?” kiáltásra korlátozódik. H-t tehát eddig két viszonnyal tudtuk
jellemezni: alapvetően és lényegében az Ez-hez,
illetőleg J-hez.
A négyszög
jobb alsó sarkában lévő Hk közvetlenül csak J-vel
kerül viszonyba. Őt ez az egy viszony jellemzi. Alakilag J-nek mondja el, hogy
egy, a kaszárnyában agyonlőtt, civilbe öltözött ezredest kell neki fuvaroznia.
J-t eddig
tehát három passzív, csak hozzá futó nyíllal jelzett viszonnyal tudtuk
strukturálisan jellemezni.
A mű egyik
lényeges szereplője a műben benne lévő író. Az E és a H viszonyának jelölésére
szolgáló vonalba beiktattuk azt a bérkocsist (Bk),
aki H-t ide, majd a kaszárnyába fuvarozza. A Bk-ról
csak az E és H viszonyában szerzünk tudomást. Az E nélkül a Bk
nem kapná meg azt a strukturális funkciót, amit megkap: azt ti. hogy ő a halál
megszemélyesítője. Ezt csak az E-től a H-val kapcsolatban elmondva tudhatjuk
meg. Az E-nek a mű lényeges szereplői (strukturális pontjai) közül hárommal, az
Ez-el, a H-val, és J-vel van viszonya. Ezáltal az előbb említett három szereplő
strukturális viszonyai bővültek: ezzel a viszonnyal is tudjuk jellemezni őket.
A mű végén megjelenő Hk-val az E-nek nincs viszonya.
(Azt mondhatnánk, hogy a Hk -hoz
csak az egész művet elbeszélő írónak van viszonya, de ezt az írót nem számítjuk
a szereplők közé.) Az E viszonyai természetesen csak egyoldalúak lehetnek, csak
az E-ből kiindulók. Az E elmond az Ez-ről olyan
dolgokat, amit az önmagáról sem tudhat. (Pl. „Bár az ezredes ezt bizonyára nem
akarta: igen sértő volt az arckifejezése, mint közönségesen szokott lenni.”) Az
E mond az Ez nevében az életről stb.-ről olyan
dolgokat, amiket az Ez nem tudhat. A novella elején ui. ezt olvassuk az Ez-ről: „Az ezredes, aki legfeljebb annyit szokott
gondolkozni az élet és halál dolgai felett, mint egy bástya a sakk játékban,
fertelmesen megéhezett...” Ezek után azonban az Ez néha nagyon differenciált gondolatokat
gondol pl. a sörről, a sör fogyasztásáról. Igaz, hogy eme gondolatok után olyan
mondatot olvashatunk, amely nem állítja határozottan, hogy ezeket az Ez
gondolta: „Ilyenféléket gondolt magában az ezredes...” Nyilvánvaló, hogy a
sörivásról való nagyon differenciált gondolatokat nem gondolhatja az, aki „az
élet és halál dolgai felett” annyit szokott gondolkozni, mint „egy bástya a
sakkjátékban”. De az E ezeken kívül megnyilvánul más helyen is, s általában
igen bölcs dolgokat mond6. De ugyanúgy, az E belelát J-be is, s olyanokat is elmond róla,
amit az önmagáról nem tudhat. Az E és H viszonyáról ugyanez mondható el. (Pl.
az E gondolataiban jelenik meg a kocsmába belépő H először. Öltözékéről azonnal
olyanokat mond, amit senki más nem tudna.) Az ábra a következő:

3.1.2. Az
ábráról leolvasható az E igen nagy szerepe: három lényeges szereplőhöz van
sajátságos viszonya. Krúdy tehát ismét belehelyezi magát a tárgyterületbe,
illetőleg önmaga egy részét, s ezáltal olyan viszonyok jönnek létre az E és a
többi pont között, amilyet a többi pont semmilyen más ponttal nem hozhatna
létre. Itt az E nem úgy van a műben, mint a Januárban, hiszen itt találunk
objektív storyt, nemcsak novellamenetet. A storyról fel kell tételeznünk, hogy
azt az elbeszélő előbb látta (ez elvileg azonos azzal, ha csak „kigondolva
látta”). Az Ez, J és H épp az E-vel való viszonya következtében minőségileg
magasabb rendű viszonyt is felmutat. A három lényeges szereplőnek tehát nemcsak
szokványos, egymáshoz való viszonya van. Az E és az Ez közelsége, az ábrán
nagyjából azonos helye azt is mutatja, hogy az Ez nagyon gyakran azokban a
viszonyokban jelenik meg, amelyeket az E hoz létre, a tőle futó viszonyokban.
Az ábra azt is mutatja, hogy a viszonyok különbözősége miatt különbség van pl.
J és az összes többi között. Hiszen J viszonyai csak hozzá futó, feléje
irányuló viszonyok. Észrevehetjük az Ez és H többrétű viszonyát. Ebben a műben
is találunk egy olyan szereplőt, aki (Hk) nem a story
oksági kapcsolataiból kerül a műbe. Alakja a mű eddigi oksági szukcesszivitását
megtöri és egyben máshonnan folytatja7.
3.2.1. A
szereplők strukturális viszonyaiban a K nincsen benne. Mit ad ki a K helyett a
szereplők strukturális viszonya?
Az Ez, az
ételeket rendelő vendég, és J az azokat felszolgáló csaposlegény viszonyából
kiderül az Ez „fertelmes” éhsége; valamint az, hogy ő most olyan ételeket kíván
enni, amilyeneket általában nem szokott. Ebben a viszonyban realizálódik az Ez
egynéhány, most felvett szokása, az „álruhához” (a civilöltönyhöz) alkalmazkodó
viselkedése: J pl. lókereskedőnek nézi egyhelyütt;
ujjaival piszkálja ki fogai közül a csontot, szopogatja a pörköltcsontot
(amiket a kaszinóban sohasem tenne) stb. Azonban mindezek a J-hez való
viszonyban csak realizálódnak: valójában a H-hoz való viszonyának a
következménye. Egyhelyen az Ez régi énje is
megnyilvánul: felfortyan és J-re kiált, amikor a kért sör helyett bort kínál
neki.
De a régi
én nagyon hamar eltűnik, s e viszonyban sohasem tér vissza8. E viszonyban először tehát az Ez-nek nagy étvágya és új, furcsa viselkedése foglaltatik
benne. Az ő viszonyukban ezenkívül az is realizálódik, hogy az Ez azért vesz
fel új szokásokat,
mert hasonlatos kíván lenni H-hoz. Tehát itt realizálódik a H-hoz való alapvető
viszonya. Az ételeket – e viszonyból az derül ki – vezeklésből eszi,
„leereszkedésből”. A J-nek elmondott szavakból később ugyanez a probléma kissé
mélyül: úgy akarja az Ez megóvni lelkiismeretét, ha nem osztrigát eszik és
pezsgőt iszik, amiket ugyanis a hírlapíró sohasem fogyaszthatna.
Az E és a kocsmába
belépő H viszonyában, azaz abban, hogy az E tökéletesen belelát H bensejébe, sőt szituációjába, s hogy azokat zömmel el is
mondja, a K-ból valami felcsillan. Amikor ugyanis a „fiatalember a poharat
szájához kapta”, az E a H szemével is és saját „mindentudó” szemével is látja
egyszerre Ez arcát.
„A
fiatalember a poharat szájához kapta, és már éppen felhajtani készült azt,
amikor váratlanul az ezredes gunyoros, lenéző, dölyfös arcával került szembe a
tekintete.” Eddig a H szemével látjuk az Ez arcát. A közvetlen folytatásban
azonban már E tudása, szeme is benne van: „Bár az ezredes ezt bizonyára nem
akarta: igen sértő volt az arckifejezése, mint közönségesen lenni szokott”.
Innen kezdve az E teljesen elszakad a H szemszögétől, s a közvetlen folytatásban
a K-ból felcsillan valami: „Hja, a nagyvilági életben szükségünk van olyan
arckifejezésekre is, amelyek nem mások, mint álarcok. Némely embernek csak
akkor látszik meg az igazi arca, amikor a halál csinálja azt”. Eme részben és
főként az utolsó mondatban azért nem jelenik meg a teljes K, mert az
udvariasnak, gavallérnak, úriembernek stb. látszó, ilyen maszkot hordó Ez igazi
arca nemcsak a gunyoros, lenéző, dölyfös és igen sértő. Eme rész mégis
elindítja, elindíthatja az olvasót a valódi és teljes K megtalálásához.
3.2.2. A mű
végén ismét új szereplőt hoz az író a novella menetébe, s ez az új szereplő is
kizárólag az olvasó kedvéért jelenik meg. A hullaszállító-kocsis azért jelenik
meg, hogy a novella tényeinek menete befejeződjön, teljessé
váljon. De a Hk megjelentetésére azért is szükség
van, hogy az Ez halála tényének vitathatatlan elmondásával elindítsa az olvasót
a mű K-jának megragadására.
A K
ugyanis nem az, hogy az Ez sokat és olyat eszik, amit eddig soha; nem is, vagy
nem csak az, hogy az Ez valódi arca gunyoros, lenéző, dölyfös és igen sértő;
nem is csak az, hogy szokásaiban azonosul áldozatával (betér az Arabs szürkébe,
egy idő múlva ott jól érzi magát, vagy tízszer köszön a kocsmárosnénak stb.);
tehát nem az, hogy eszik és iszik a hírlapíró helyett, hogy átveszi szokásait,
sőt, hogy fizet helyette. A novellában az Ez fokozatosan (27 megszámolható
egységben) közeledik a H-hoz, míg végül, annyira azonossá lesz vele, hogy
voltaképp elfoglalja az áldozat helyét. (Ennek ábrája: E1–>E2–>E3–>E4
... –>E27: E= H.) Mindezek az olvasót csak „ellökhetik”, hogy a K-t
megkeresse, illetve ezekből összerakja, saját elemző és gondolkodó
folyamatában.
A mű
szereplőinek strukturális viszonyai tehát nem adják ki a K-t. A K ugyanis az,
hogy az előbb elmondottakat a halál közelségében, a halál közelsége miatt teszi
az Ez, sőt: mintegy a halál téteti vele, azaz, hogy a halál közelsége
átalakítja az embert, új arcot ad az embernek. (A halál az olvasó számára egy
pillanatig a szöveg szintjén is megjelenik ama bérkocsis alakjában. A H pedig, mintha a halál ügynöke lenne9.) De a K mélyebb szintjéhez, értelmezéssel
megragadható szintjéhez az is hozzátartozik, hogy az Ez-nek
csak mint ezredesnek, mindazzal tehát, amit társadalmilag is jelent, volt
előnye a hírlapíróval szemben. Amikor ő ezt elhagyta, s mindenképpen álruhát
öltött, erről lemondott. Hiszen a halál minden társadalmi előnyt és hátrányt
leolvaszt az emberről. Az ezredes azért veszít, mert – ez következik mindebből
– emberileg értéktelen10.
Ezek után
az elbeszélő (E), a strukturális viszonyok, a Közlés (K) és az olvasó (O)
viszonyát az alábbi ábrában adhatjuk meg:

3.2.3. Ha
az olvasó megmarad a szöveg-adta szinten, a K-t adekvátan nem ragadhatja meg.
Sem a szereplők egymáshoz való strukturális viszonya, sem az E viszonya a
szereplőkhöz, nem adja ki a megfelelő K-t. Az egész mű elolvasása után az
olvasónak itt is „el kell mozdulnia” ahhoz, hogy a K-t megragadhassa.
Az olvasó
megismerheti a storyt, a menetet, a strukturális viszonyokat, a jellemeket
stb., de a K megértéséhez, megragadásához „el kell
mozdulnia”, meg kell keresnie azt.
x
Úgy véljük, a három novella elemzése kapcsán sikerült bizonyítanunk: a strukturális pontként felfogott szereplők strukturális viszonyai igen lényeges szerepet játszanak a művek Közlésében, még akkor is, ha ezek közvetlenül nem adják ki a Közlést. A strukturális viszonyok az az alap, amelyből „kiindulva” a Közlés egésszé szervezi a művet.
1 R. Carnap: Struktúraleírások. Helikon, 1968/1. 27.
2 Ebben az összefüggésben a Közlés nem egyenlő azzal, amit az író
szándékosan helyez a műbe.
3 Az öreg puli
is helyet kap a történetben (sokkal erősebbet, mint pl. a komondorok), hiszen
„vicsorító” ugatásával, „csikorgó csaholás”-ával a
gyilkosság érzelmi előjelét adja.
4 A mű
storyjától megkülönböztetjük mindig a mű menetét. Storyn a műben bemutatott
szereplők között lezajló eseményt értjük. A mű menetén a mű minden részének
szukcesszív előrehaladását.
5 A veres juhász jelleméről a műben természetesen több más is kiderül. Jellemére utal először veres szőrzetű volta (bizalmatlanság, rossz előérzet). Megtudjuk, a gyilkosság után a sír fölött jóízűen megvacsorázott stb. Mindezek azonban nem a strukturális viszonyokból, a szereplők strukturális viszonyaiból derülnek ki.
6 Egy-két példa: „Az ujján a karikagyűrű elég mélyen be volt nőve,
tehát régi háziasszonynak számított, mint ahogy a faderekakban is elmélyednek a
tavaszok jegygyűrűi”. – „Az a néhány futó vendég ... amúgy sem szokott mást
inni, mint bort, mert a borban több az érték, mint a sörben.” – „Ezzel a
durrantással bizonyára a felesége délutáni álmát akarta helyreigazítani (ti. a
kocsmáros a kártya asztalra csapásával), mert az asszonyok délutáni álmai
lehetnek veszedelmesek is. Néha megálmodják az igazat, és akkor többé nem lehet
beléjük visszacsókolgatni a régi lelket.”
7 Ez a műben nyelvileg is pontosan megragadható. A Hk-ról szóló rész így kezdődik: „Amikor estefelé egy késő
hullaszállító-kocsis jelentkezett...”
8 Csak akkor tér vissza, amikor az utolsó szivarra rágyújt, de ez a
novella más szintjéhez tartozik, mint amit mi vizsgálunk.
9 „Vakon
imbolyogva fordult meg (ti. a hírlapíró), és szellemlépéssel szökkent ki az
ajtón. ’Gyerünk a laktanyába’ – kiáltotta hörgő
hangon a kocsis fülébe, aki olyan gyorsan vágott a lovai közé, mint a halál.
(Valóban, minta későbbi megbeszéléseknél kitűnt, ezt a fiákerest nem ismeri vala senki a környéken, pedig itt, az Arabsnál minden
valamirevaló bérkocsi meg szokott fordulni. Még ha kerülőt is kellett evégből
tennie.)”
10 Véleményünk szerint épp ezért nem sikerült annyira e novella
ellenpárja, a „Hírlapíró és a halál”, mert ott a
hírlapírót társadalmilag „öltözteti
fel” Krúdy, s nem emberiességben, emberi értékben.
(A
novellaelemzés új módszerei. (A szegedi novellaelemző konferencia anyaga. 1970.
április 9-11.) Szerk. Hankiss Elemér.
Bp. 1971, Akadémiai Kiadó. 51-62. p.)